产品分类
400-800-8190
15800726618
| 高效雾式喷淋加湿器 | |||
|
|
JPL-50000-A-EE | ||
|
|
1.2T/h | ||
|
|
2KW | ||
|
|
≤178(个) | ||
|
|
自动 | ||
|
|
2930KG | ||
|
|
长:2200mm(长×宽×高) | ||
- 产品详细
- 相关配件
- 质量保证
- 典型客户
喷淋加湿器(喷淋式、高效雾式喷淋)
一、新式喷淋空调加湿段简介及使用范围
新式喷淋段主要特点:
- 采用特制喷淋头,雾粒更细;
- 采用填料增加汽水接触面积,效率更高;
- 自控精度更高,应用范围更宽。
喷水室可以对空气加热、冷却,减湿和加湿过滤粉尘、吸收容水气体(NH3'SO2)等各种处理功能,期中七大功能是任何一种加湿器,所不能完全替代的,尤其在高温、多尘、
多毛恶劣的工况条件下,尤显优势,例如:毛纺织、卷烟、化工、核电设备,冷却等行业,其缺点:占用空间较大,但其净化、降温、少维修,运行可靠等特点,至今仍在各种加湿
方式中不可取代,尤其新式喷淋空调经过改进后,应用范围更加广泛,其中喷淋+湿膜变形组合方式,采用细雾喷淋头,占用空间面积大大缩小,冷却效率大大提高,在干热气候条件下,
降温可达10-15℃,有很大的发展应用前景。在需要高洁净度高纯度空气品质的场合,例如:超洁净集成芯片制作行业中,也被用于吸收、过滤有毒、有害气体的功能中,同时降低
活性炭的过滤段的使用成本。
二、工作原理
在喷淋式中,空气与喷淋或湿膜表面水分子进行摩擦热湿交换,达到加湿、降温、吸收溶解
降尘、水洗空气目的,如改变水温,即可实现除湿加湿等功能。
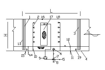
结构示意图
![]() |
![]() |
1、前挡水板 2、喷嘴与排管 3、后挡水板 4、水箱 5、冷水管 6、滤水器 7、循环水箱 8、三通混合阀
9、水泵 10、供水管 11、补水管 12、浮球阀 13、溢水器 14、溢水管 15、泄水管 16、防水灯 17、湿材
18、外壳 19、水箱热管
三、产品设计特点
- 可选用内置或外置两种循环泵喷淋系统,可根据实际工况允许尺寸选择其一
- 采用不锈钢专用喷嘴,高压、高密度布水、雾粒细、综合功能明显
- 对于大风量(>15-35万)空调喷淋加湿又独到的防过水技术,采用特制大沟槽挡水板,可做到<5m/s不过水
- 过滤网系统采用双级过滤及反冲洗技术,减少清理维护量,保持无人值守的使用效果。
- 对于卷烟厂等特殊大尘埃的情况,设有快速可拆卸双桶过滤器,1分钟实现快速更换,节约操作时间,方便耐用
- 可根据水质电导率检测情况,实现自动排污功能(选配)
- 采用PLC控制器接收空调连锁ON/OFF信号,实现远程控制,全中文显示,根据需要,也可以采用简易型湿度控制器
四、控制系统
- 采用西门子(PLC)变频比例远程控制与手动、湿控,高、中、低三档三种控制方式
- 自动进水,进水阀快速补水,
- 节能,高精度湿度更踪:采用喷淋变频控制加湿
- 防波动误动作水位控制,保护水泵
- 电导率检测、自动排污
五、控制系统图

六、喷淋段的七大功能+水洗有害气体功能
水的温度与空气的温湿度关系决定了多种空气处理过程,见下图:
T水=t露点 T水=t湿球 T水=t干球
等温冷却 等焓加湿 等温加湿

1、除尘、水洗有害气体功能
水与空气直接接触过程中,空气中的有害可溶性气体(NH3/SO2)溶于水中,同时降低了空气的含尘量,提高了空气的洁净度,达到某些高洁净电子
芯片制作工艺环境的空气品质要求。
2、冷却与制热功能
在夏季,利用地下水或冷冻水喷淋,达到空气冷却降温的目的,反之用热水喷淋可以实现加热空气 的目的。
3、喷淋加湿功能
为达到某些工艺环境湿度要求,保证产品合格率,消除静电等工艺要求,例如:
汽车喷涂线加湿、发电厂设备降温设备等场合。
喷淋室性能计算参数
一般用喷水系数大小表示喷淋室的喷雾性能,用其它性能系数表示喷淋式的热工性能。
水汽比U的定义式喷水量与空气量之比,即
U=W/G KG/KG
式中:
W是喷淋室的喷水量, kg/h 喷淋室通常采用U=W/G=1:1.5 喷淋+填料组合方式:采用U=W/G=1:0.5_1
焓湿图中空气处理状态解释:
水温与温湿度的关系决定处理功能:
| 过程线 | 水温特点 | T或显热 | D或潜热 | I或总热量 | 过程名称 |
| A-1 | tw<tl | 减 | 减 | 减 | 冷却除湿 |
| A-2 | tw<tl | 减 | 不变 | 减 | 冷温加湿 |
| A-3 | tl<tw<ts | 减 | 增 | 减 | 减焓加湿 |
| A-4 | tw=ts | 减 | 增 | 不变 | 等焓加湿 |
| A-5 | ts<tw<ta | 减 | 增 | 增 | 增焓加湿 |
| A-6 | tw=ta | 不变 | 增 | 增 | 等温加湿 |
| A-7 | tw>ta | 减 | 增 | 增 | 升温加湿 |
tw:水温 tl:空气露点温度 ts:湿球温度 ta:干球温度
七、吸收NH3、SO2等有害气体的吸收效率计算
水溶吸收NH3、SO2等有害气体功能
吸收效率:u={进风-出风(ppm)值}/进风(ppm)值
例如:空气中的SO2的含量45ppm,经喷淋吸收后为8ppm,吸收效率:u=(45-8/45)=82%
水系段为了提高吸收效率,降低成本,建议选用喷淋+填料组合方式,可节约成本,尤其适用于改造空调,同时也起到加湿
降温的多重效果(详细设计资料可与金嘉乐联系)。
八、型号编制

例如:JPL-50000-A-EE为50000风量空调配套内置式喷淋加湿器
九、喷淋系统分类
1、喷淋室有卧室、立式、与中间填料层的组合式喷水室。
2、喷嘴布置:单级(单排、双排),双级(三排、四排)
![]() |
![]() |
![]() |
![]() |
![]() |
3、喷淋+填料组合式喷淋室是在喷水室内设有填料喷淋盒,各自独立完成加湿布水方式,与水可以充分接触进行热湿交换,
且可以缩短喷淋段的长度。这种喷水室对空气净化作用更好,它适合于空调改造功能。
![]() |
![]() |
十、产品设计结构形式
两大分类:
E类----空调喷淋加湿段内配置 W类----整体喷淋段对接
![]() |
![]() |
1、空调预留喷淋段内配置套式(E式)

a、配套外置循环水泵(EY式 )
![]() |
![]() |
2、整体独立外界不锈钢喷淋段(W式)

a、独立安装外置循环水泵(WY式)


b、独立安装内置潜水循环水泵式(WE式)
十一、工程实例及配件






十二、喷淋水质要求
普通自来水,可饮用水或池内净化后的河水 ,弱碱水,冷,热水等。
十三、订货需提供
- 风量CHM:空气总量G喷水量W(kg/h),水汽化比=W/G
- 空气的初态、终状态(要求状态):加湿量/制冷量/加热量/水洗/吸收的目的
- 喷淋系统的结构:单级/双级/卧室/立式
- 水温参考值(热湿处理过程)
- 热交换效率:喷水结构室,空气质量流速(kg/m2·S)、喷水量
- 控制系统:湿控方式与自控编程:普通与变频方式。
- 喷淋形式:传统喷淋,高效雾式喷淋
喷淋系统的零部件材质及选型
| 序号 | 名称 | 材料及型号 |
| 1 | 前后挡水板 | 不锈钢/PVC/玻璃钢 |
| 2 | 喷淋排管 | 镀锌管/不锈钢管 |
| 3 | 水箱 | 不锈钢 |
| 4 | 水泵、阀件 | 国产/ 进口 型号 |
| 5 | 喷嘴(材质) | PVC/铜质/不锈钢 |
| 6 | 喷淋室外壳 | 不锈钢/混泥土/玻璃钢 |
| 7 | 湿材 | 有机/lvheji/ |
十四、设计注意及型号选择表
1、限速风速>3--<5m/s。在卧式空调后挡水板后面应设置中间段,并加装节水盘,防止”过水“,
便于检修:加装填料方式,可免装
2、极限风速>3.5--<4m/s,采用特制挡水板,与金嘉乐联系。
单级双排喷淋段(选型表一)
| 风量(CHM) | 20000 | 30000 | 40000 | 50000 | 60000 | 80000 | 100000 | 120000 | 140000 | 160000 | 200000 |
| 喷水量(T/h) | 17.2 | 28.4 | 37.0 | 46.9 | 58.7 | 76.6 | 95.7 | 117.5 | 128.0 | 149.5 | 188.8 |
| 冷量(Kw) | 90.6 | 141.8 | 191.7 | 240.6 | 297.9 | 391.8 | 489.7 | 596.8 | 664.5 | 758.5 | 973.2 |
| 进水管直径DN1 | 40 | 50 | 65 | 65 | 65 | 80 | 80 | 100 | 100 | 100 | 125 |
| 回水管直径DN2 | 65 | 80 | 80 | 100 | 100 | 125 | 125 | 150 | 150 | 150 | 175 |
| 溢水管直径DN3 | 80 | 100 | 100 | 125 | 125 | 150 | 150 | 175 | 175 | 200 | 250 |
| 补水管直径DN4 | 20 | 20 | 25 | 25 | 32 | 32 | 40 | 40 | 40 | 40 | 40 |
| 排水管直径DN5 | 32 | 40 | 40 | 40 | 40 | 50 | 50 | 50 | 65 | 65 | 65 |
| 重量() | 1905 | 2280 | 2620 | 2930 | 3295 | 3750 | 4410 | 5800 | 6300 | 6900 | 8100 |
| 喷淋段长(mm) | 2200-2600 | 1200-1500(填料组合) | |||||||||
| 空气阻力(Pa) | 60-75 | 130-140(填料组合) | |||||||||
| 喷嘴型号(mm) | 直径:1-5 | ||||||||||
| 喷嘴数量 | 根据项目要求 | ||||||||||
| 喷嘴压力(Mpa) | 0.15-0.8 | ||||||||||
| 喷嘴密度 | 15-22个/m2排 | ||||||||||
| 填料材质 | PVC/塑料/铝合金/不锈钢 | ||||||||||
双极四排喷淋段与喷淋+湿膜组合方式
| 风量(CHM) | 20000 | 30000 | 40000 | 50000 | 60000 | 80000 | 100000 | 120000 | 140000 | 160000 | 200000 |
| 喷水量(T/h) | 34.3 | 56.8 | 73.9 | 93.7 | 117.5 | 153.1 | 191.4 | 235.0 | 256.1 | 291.7 | 377.5 |
| 冷量(Kw) | 115.5 | 187.5 | 246.2 | 308.5 | 383.6 | 504.1 | 630.1 | 769.2 | 852.1 | 972.2 | 1552.2 |
| 进水管直径DN1 | 40 | 50 | 65 | 65 | 65 | 80 | 80 | 100 | 100 | 100 | 125 |
| 回水管直径DN2 | 65 | 80 | 80 | 100 | 100 | 125 | 125 | 150 | 150 | 150 | 175 |
| 溢水管直径DN3 | 80 | 100 | 100 | 125 | 125 | 150 | 150 | 175 | 175 | 200 | 250 |
| 补水管直径DN4 | 20 | 25 | 32 | 40 | 40 | 50 | 50 | 50 | 65 | 65 | 65 |
| 排水管直径DN5 | 40 | 50 | 50 | 50 | 50 | 65 | 65 | 65 | 80 | 80 | 80 |
| 重量() | 3045 | 3680 | 4205 | 4720 | 5310 | 5930 | 7075 | 7450 | 8000 | 8700 | 10200 |
| 喷淋段长(mm) | 2800-3200 | 1400-1800(填料组合) | |||||||||
| 空气阻力(Pa) | 70-80 | 130-140(填料组合) | |||||||||
| 喷嘴型号(mm) | 直径1-5 | ||||||||||
| 喷嘴数量 | 根据项目要求 | ||||||||||
| 喷嘴压力(Mpa) | 0.15-0.8 | ||||||||||
| 喷嘴密度 | 15-22个/m2排 | ||||||||||
| 填料材质 | PVC/塑料/铝合金/不锈钢 | ||||||||||
填料+喷淋组合冷却器水流变化饱和效率图
此方案用于设备降温用途
![]() |
![]() |
测试条件:300mm厚填料在空气状态相同状态下
a、喷淋饱和线 b填料饱和线 c、喷淋+填料组合饱和线 d、布水量变化与饱和效率线
![]() |
![]() |
![]() |
备选件:
留言
欢迎您提出宝贵的意见和建议,您提交的任何信息,都将由我们专人负责处理。如果不能解决您的疑问,请您联系我们。

































